Pieds de poteaux-les différentes solutions pour fixer un carport
Pieds de poteaux, les différentes solutions pour fixer un carport :
1. Introduction
Les fixations au sol sont très importantes puisque qu’elles supportent toute la charge de votre carport. De plus, elles préservent le bois en le prévenant de toute remontée d’humidité ou d’attaques fongicides. Il existe différents types de pieds de poteaux à choisir en fonction de la section du poteau ou de la nature du socle. On retrouve très souvent des fondations en béton. Néanmoins, les fixations peuvent tout de même reposer sur des plateformes en bois ou être à même le sol.
2. Choisir la matière de son pied de poteau
Les pied de poteaux sont généralement en inox, galvanisé zinc ou acier. Nous vous recommandons l’inox pour toutes surfaces corrosives. Comptez entre 5 et 20€ pour un pied de poteau.
3. Quels pieds pour quels sols ?
-
Fixation encrage en H
Les fixations encrage en H viennent se seller sur un support en béton. Encrée au centre de la dalle en béton et habillée en acier galvanisé, la fixation encrage en H offre une grande stabilité.
Ces fixations sont constituées de deux pièces en acier galvanisé et peuvent être surélevées du béton jusqu’à 250 mm.
-
La fixation en 6 étapes :
-
Creuser le sol sur une profondeur de 80cm et une largeur de 50cm environ.
-
Insérer le H d’encrage dans le trou et positionner une planche au-dessus du trou

-
-
-
Couler le béton jusqu’à hauteur de la planche.
-
Laisser sécher le béton entre 10 et 21 jours.
-
Retirez la planche de bois.
-
Placer votre poteau verticalement dans la fixation et visser le.

-
Encre de poteau en U
-
Les fixations à encrage en U se caractérisent par un poteau pris entre deux plaques de métal. La fixation est composée d’une longue tige qui s’enfouit dans la dalle.

4. Les différentes formes de pieds de poteaux
-
Connecteurs a vis :
-
Pieds de poteaux avec platine

-
A la différence des connecteurs à encrage au sol, les connecteurs à vis se fixent sur le sol et le poteau s’insère dans un tube de fixation directement ancré sur la platine.
-
-
Pieds de poteaux en U avec platine
-
Les pieds de poteaux en U avec platine sont montés d’un tube circulaire dans lequel les poteaux du carport viennent se glisser.

5. Pieds de poteaux fixes ou réglables ?
-
Pieds de poteaux fixes :
-
Les pieds de poteaux fixes sont fréquemment utilisés pour soutenir des structures telles que des pergolas, des vérandas, des poteaux d’auvent… Néanmoins, ils ne vous permettent pas de régler la hauteur. Les pieds de poteaux fixes les plus répandus ont une platine mesurant 130x130mm et une plus petite platine de 100x100mm. La plus petite platine se positionne en haut, sous le poteau. Elle viendra se fixer au bois à l’aide de tirefonds. La platine la plus grande quant à elle, s’ancre dans le sol.


-
-
Pieds de poteaux réglables :
-
Fonctionnement :
Les pieds de poteaux réglables se composent de deux parties. Une partie est vissée sur une tige scellée. Cette partie devra se visser au poteau du carport. La deuxième partie se scelle ou se visse dans le sol.
-
Les poteaux réglables conviennent parfaitement pour installer un auvent, une pergola, une terrasse ou une véranda par exemple.
-
Pour régler la hauteur, c’est très simple. Il vous suffira de faire pivoter votre poteau dans un sens ou dans l’autre pour le monter ou le descendre.
-
Prix
Le prix de ces poteaux varie entre 15 et 75 € et avoisine en moyenne les 30€.
-
Avantages :
Une fois la pose de vos poteaux achevée, vous pourrez ajuster leur taille à votre convenance. Ces pieds de poteaux réglables vous permettront de pallier un éventuel souci de niveau. Ils sont utiles pour soutenir un escalier ou un pallier par exemple.

-
6. Les principaux modèles & leurs avantages :
-
Le Pied de poteau fixe Simpson APB100/150 :
-
-
Le plus connu et le plus utilisé
-
Il convient au poteau de plus de 11cm car sa platine supérieure fait 10 cm
-
Il est disponible en kit complet avec la visserie
-
L’avantage de ce pied de poteau est sa simplicité d’installation, il nécessite aucun usinage et se règle sur le chantier.


-
Données techniques - Dimensions :
A=100mm
B=100mm
D=130mm
E=130mm
F=100-150mm
G=20mm
-
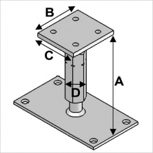
Les pieds de poteau réglable avec platine Alsafix
-
-
Son pied rectangle permet une installation à bord de mur si l’espace n’est pas suffisant pour un pied carré
-
Fabricant Français basé dans le grand est
-
La hauteur réglable de ce pied de poteau est de 80cm.

-
Dimensions : Platine supérieure : 80 x 70 x 6 mm avec 4 trous Ø 9Platine inférieure : 150 x 70 x 6 mm avec 4 trous Ø 12.5
A = 140 - 220 mm
B = 70 mm
C = 80 mm
D = tige M20
-
La gamme Rothoblaas :
-
-
Une marque professionnelle que nous utilisons sur tous nos chantiers
-
Il est toujours possible de régler la hauteur après le montage du carport ce qui est un très grand avantage.
-
Ce modèle de grande dimension garantit une grande ténacité.
-
Ces poteaux en acier au carbone électrozingué Dac Coat sont idéals pour l’extérieur et peuvent être utilisés avec du bois lamellé-collé, CLT et LVL.
-
R10 - Dimensions :

Code R1080 :
B=80mm
P=80mm
H=140mm
S=6mm
Code R10100
B=100mm
P=100mm
H=200mm
S=8mm
Code R10140
B=140mm
P=140mm
H=200mm
S=8mm
Pied de poteau réglable Simpson
Pied de poteau réglables - Goujons d'ancrage béton et...
Pied de poteau fixe Simpson
Pied de poteau fixe - Goujons d'ancrage béton et fixations...
Laisser un commentaire